1.1电缆桥架安装及技术措施
1.1.1施工流程图

电缆桥架安装施工流程图
1.1.2施工示意图及主要技术措施
电缆桥架施工示意图及主要技术措施表
| 序号 | 项目 | 施工示意图 | 主要技术措施 |
| 1 | 测量
放线 |
|
核对图纸的位置和标高与工程实际情况要相符,机电各专业之间施工前必须协调,避免与其他专业发生矛盾。 |
| 2 | 支吊架预制、安装 |
|
采用与电缆桥架配套的成品支吊架; 确定桥架弯通、变径直通位置确定其支、吊架位置,然后确定直线段支、吊架位置。直线段上的支、吊架保持间距均匀;直线段30m处设伸缩节。 |
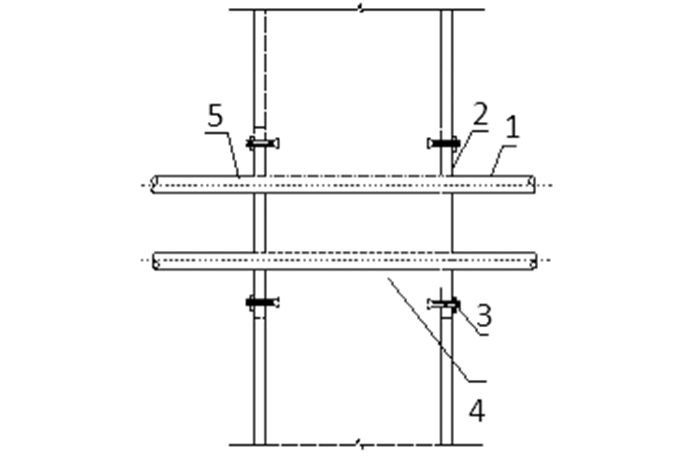
| 3 | 桥架
安装 |
桥架水平安装 |
(1)桥架安装:桥架连接件,应采用桥架制造厂配套的连接件;
(2)防水桥架安装时,盖板采用坡型盖板,盖板连接处防水密封应良好,桥架底部应设置泄水孔; (3)防火桥架安装时,防火涂料应完整,严禁部分防火桥架用普通桥架代替。 |
|
桥架垂直安装 |
|||
|
桥架防火封堵 |
桥架穿越电缆井时,应在每层楼板处采用不低于楼板耐火极限的不燃材料或防火封堵材料封堵;
桥架穿越电缆井与房间、走道等相连通的孔隙应采用易切割和可重复使用的膨胀性防火发泡砖封堵; 桥架穿越防火分区时需按所穿墙体的耐火极限采用岩棉封堵,然后在两侧填充膨胀性防火密封胶。 |
||
| 4 | 安装跨接地线 |
安装跨接地线 |
镀锌桥架之间可利用镀锌连接板作为跨接线;防火桥架之间用铜编织带作为跨接线。 |
桥架安装应平直整齐,水平或垂直安装允许偏差为其长度的2‰,且全长允许偏差为20mm;桥架连接处牢固可靠,接口应平直、严密,桥架应齐全、平整、无翘角、外层无损伤。根据深化设计图,对各楼层的桥架的弯头、三通等配件进行编号,以及将高压与低压桥架进行标识。
本工程桥架转弯及分支处均选用成品配件,且弯头的弯曲半径根据桥架内敷设的最大电缆转弯半径来制定。
为确保电缆的顺利敷设,水平安装桥架的顶部距顶板最小距离为200mm,采用共用支架的桥架各层之间的最小间距为150mm。宽度在1000mm~200mm的桥架水平安装时,支架均采用热镀锌支架制作,桥架宽度在200mm以下的选用成品吊框支架固定。
1.1.3水平安装的桥架支架规格表
| 桥架宽度(mm) | 吊杆规格 | 吊梁规格 |
| 800~1000 | φ12通丝杆 | L50×50×5 |
| 400~600 | φ10通丝杆 | L40×40×4 |
| 300~150 | φ8通丝杆 | L30×30×3 |
在各层的主干桥架采用共用支架安装。强电井内的桥架根据深化图来确定桥架的支架样式,垂直安装在强电井的桥架主要受力支架在楼板上安装。桥架安装穿越防火分区时用防火枕和防火泥封堵。
由金属桥架引出的金属管线,接头处应用锁母固定。在电线或电缆引出的管口部位应安装塑料护口,避免电线或电缆在出线口遭受损伤。

敷设电缆的桥架弯曲半径为敷设的外径最大的电缆的10倍。桥架、线槽连接板的螺栓应紧固,螺母应位于桥架、线槽的外侧;其不带电的金属外壳均牢固连接为一个整体,并可靠接地以保证其全长为良好的电气通路。线槽垂直敷设,应至少每隔3m固定一次。桥架在穿过防火墙及防火楼板时,采取防火隔离措施,防止火灾沿线路延燃。
1.1.4电缆桥架与各种管道的最小净距表
|
管道类别 |
平行净距(m) | 交叉净距(m) | |
| 一般工艺管道 | 0.4 | 0.3 | |
| 易燃易爆气体管道 | 0.5 | 0.5 | |
| 热力管道 | 有保温层 | 0.5 | 0.3 |
| 无保温层 | 1.0 | 0.5 | |
1.2电气配管安装及技术措施
本工程采用的电气导管主要有SC热镀锌钢管、套接紧定式镀锌钢导管等。
1.2.1施工流程图
1.2.1.1明配管

明配管安装施工流程图
1.2.1.2暗配管

暗配管安装施工流程图
1.2.2施工示意图及主要技术措施
1.2.2.1明配管施工示意图及主要技术措施表
|
序号 |
项目 | 施工示意图 | 主要技术措施 |
| 1 | 测量
放线 |
/ | 核对图纸的位置和标高与工程实际情况要相符,机电各专业之间施工前必须协调,避免与其他专业发生矛盾。 |
| 2 | 支吊架预制、安装 | / | 根据施工图纸首先测出盒、箱与出线口的准确位置,然后按测出的位置,把管路的垂直、水平走向拉出直线,确定支架,吊架的具体位置。 |
| 3 | 管路
安装 |
明配管横排电气配管 |
(1)管路明敷设时,管材的弯曲半径不宜小于管材外径的6倍。当两个接线盒间只有一个弯曲时,其弯曲半径不宜小于管材外径的4倍。固定点与终端、弯头中点、电气器具或合(箱)边缘的距离宜为150~300mm。排列应整齐,固定点牢固,间距均匀,其最大间距应符合规范要求;
(2)管路水平或垂直明敷设时,其水平或垂直安装的允许偏差为1.5‰,全长偏差不应大于管内径的1/2。 |
明配管竖排电气配管 |
|||
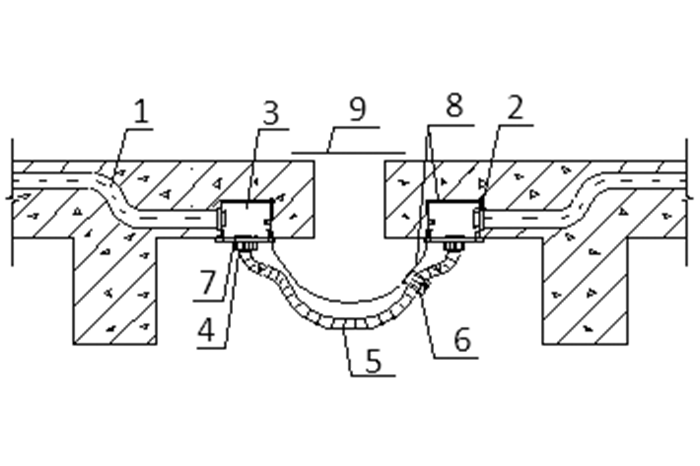
明配管过伸缩沉降缝 |
符号说明:
1-钢管;2-锁母、护口;3-接线盒;4-BG接线箱连接器;5-可挠金属电线保护管;6-接地卡;7-BP绝缘护套;8-接地线;9-伸缩沉降缝。 |
||
|
线管穿墙防火封堵 |
符号说明:
1-钢管;2-防火隔板;3-膨胀螺栓;4-防火堵料;5-管口内封堵防火堵料或石棉绳。 |
||
电气管路与电动机连接 |
电气导管与电气设备、采用金属软管或可挠金属电线保护管;吊顶内分线盒至器具间的连接采用金属软管,消防及应急系统需防火处理。 | ||
| 4 | 安装跨接地线 |
|
管路作整体接地连接,穿过建筑物变形缝时,有接地补偿装置,采用跨接方法连接。镀锌钢管或可挠金属电线保护管,用专用接地线卡连接。 |
1.2.2.2暗配管施工示意图及主要技术措施表
|
序号 |
项目 | 施工示意图 | 主要技术措施 |
| 1 | 确定线盒位置 | / | 根据施工图及土建弹出的水平500mm线为基准,确定盒、箱实际位置和管路走向。 |
| 2 | 线盒
固定 |
|
(1)盒、箱固定要求混凝土饱满,平整牢固,坐标正确; (2)现制混凝土板、墙盒、箱加支铁固定,盒、箱底距外墙面小于30mm时,需加金属网固定后再抹灰,防止墙面空裂。 |
| 3 | 管线敷设和连接 |
暗配管横排电气配管 |
敷设程序为先平管后立管,施工中根据柱墙的施工进度及墙体结构,确定立管的安装方式及进度,并做好各专业的配合。 |
暗配管竖排电气配管 |
|||
| 4 | 变形缝
处理 |
|
符号说明: 1-钢管;2-锁母、护口;3-接线盒;4-BG接线箱连接器;5-可挠金属电线保护管;6-接地卡;7-BP绝缘护套;8-接地线;9-伸缩沉降缝。 |
| 5 | 接地线跨接 |
|
管路作整体接地连接,穿过建筑物变形缝时,有接地补偿装置,采用跨接方法连接。镀锌钢管或可挠金属电线保护管,用专用接地线卡连接。 |










