机械搅拌发酵罐是目前运用较多、应用较广的通气发酵设备,是发酵工厂最常用类型。也称标准式或通用式发酵罐。
机械搅拌是目前容易达到混合及传质效果的形式。它是利用机械搅拌器的作用,使空气和发酵液充分混合,并溶解在发酵液中,以保证微生物的生长繁殖所需要的氧气。
发酵罐基本要求
①发酵罐应有适宜的高径比。一般高度与直径比为(1.7~4)∶1,高径比越大,溶氧效果越好,氧的利用率越高。需注意高径比越大,罐越高,对建筑成本影响。
②发酵罐要有适宜的设计压力。目前大部分发酵罐设计压力为0.3MPa,工作压力为0.15MPa以下。
③搅拌器及内部结构有利于氧的溶解。发酵罐搅拌桨一般为多种搅拌桨组合,以达到最好的溶氧效果,发酵罐内部挡板、竖式列管等结构,使培养基在搅拌时形成湍流,增加搅拌效果。
④发酵罐要有良好的密封性。发酵罐对密封要求较高(特别是搅拌密封),各个接口及机械密封要满足密封要求,尽量减少泄漏,减少培养时染菌的概率。
⑤发酵罐内部在设计时,要避免灭菌及搅拌死角。以简单稳固为主,防止罐内螺栓松动。
⑥发酵罐要易于操作及清洗。内表面进行镜面抛光,减少培养基等附着,接口采用卡箍快接等方式,方便操作、清洗及检修。
⑦发酵罐要有足够的换热面积。发酵罐在设计时,要计算换热面积,有足够的换热面可以保证迅速升温、降温,保证灭菌时尽可能降低培养基营养成分的破坏以及发酵时温度控制的准确性。
发酵罐工作原理
机械搅拌发酵罐主要利用机械搅拌桨的搅拌破碎作用、空气分布器的分散作用,使通入的无菌空气分散成小气泡,与发酵液混合,促使氧气在发酵液中的溶解,以保证微生物生长及生产产物所需的氧气。
衡量发酵罐的优良与否的2个基本指标是溶氧系数(KLa)的高低和传递1kg氧所耗功率的大小。
发酵罐通过加酸、加碱等使发酵液维持一定的pH;
通过夹套、盘管、蛇形列管等通冷却水、热水、蒸汽等使发酵液维持一定的温度;
通过罐体灭菌、除菌过滤器过滤、保持密封、罐内保持正压等使微生物发酵时保持严格的无菌条件。
通过控制通气量、溶氧、搅拌转速、罐压、pH、温度、补料、菌体密度、尾气检测等参数确保发酵处于最佳状态。
主要结构
发酵罐的主要结构包括:罐体、搅拌器、挡板、空气分布装置、机械密封、换热装置、传感器接口、附属结构等,如图所示。

发酵罐主要结构
(1)罐体
发酵罐由圆柱形直筒体和椭圆形或蝶形上下封头连接而成。
公称容积(下封头和筒体容积)1m³及以下发酵罐上封头与直筒体采用法兰连接,设有手孔进行加料、清洗等,若要对发酵罐内部进行检修,需要将上封头打开;
公称容积1m³以上发酵罐上封头与罐体直接焊接,设有人孔,可以进行加料、清洗、进罐检修等。
在罐顶上接口:人孔、补料口、排气口、压力表接口、接种口等。
在罐身上接口:进气口、移种口、取样口、出料口、各种传感器接口、循环水进出口等。
常用的机械通气搅拌发酵罐的结构和主要尺寸已经标准化,根据发酵罐大小及用途可以分为多种。主要分为三级,实验室规模,中试规模,生产规模。
实验室规模的有1,3,5,10,20,30L发酵罐;
中试规模的有50,100,200,300,500L和1,2,3m³ 发酵罐;
生产规模的有5,10,20,50,100,200m³发酵罐。(一般分法,不绝对。)
我们可以根据需要进行发酵罐容积选择。
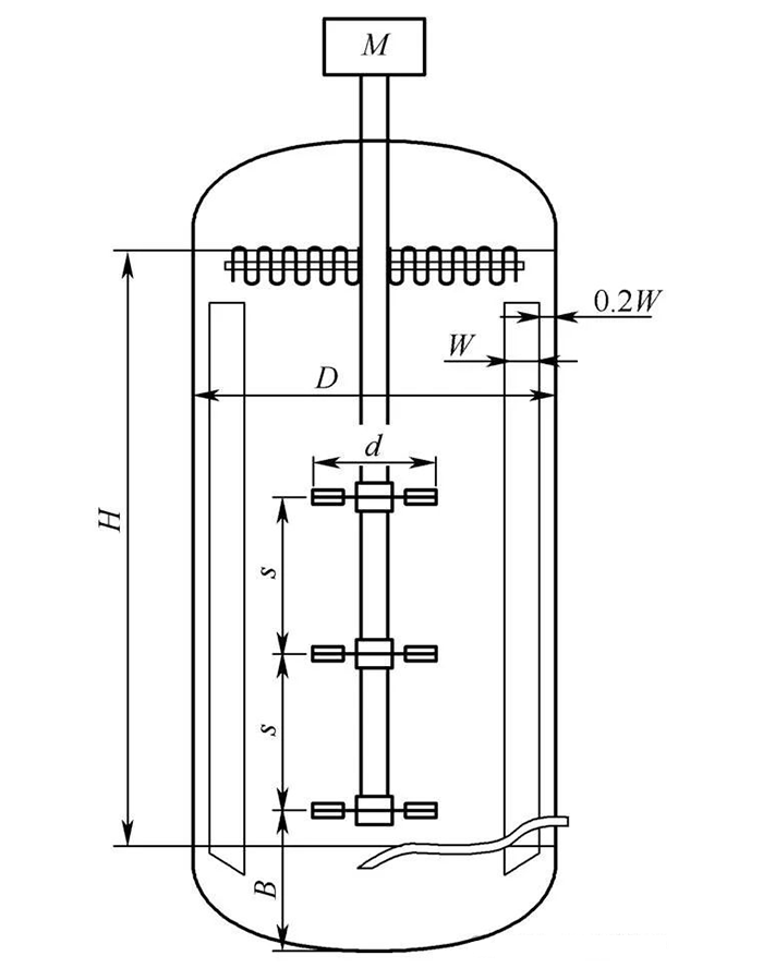
通用型机械搅拌通风发酵罐几何尺寸如下图所示。

通用型发酵罐几何尺寸
图中 H——发酵罐直筒体高度,m;
D——发酵罐直径,m;
d——搅拌器直径,m;
W——挡板宽度,m;
B——下搅拌器距罐底距离,m;
s——搅拌器间距,m。
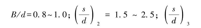
常用的机械搅拌通风发酵罐的几何比例:
H/D=1.7~3.5;
d/D=1/3~1/2;
W/D=1/12~1/8;

= 1~2(下面2, 3表示搅拌器的挡板数)
描述发酵罐大小有全容积和公称容积。
全容积是发酵罐直筒体体积和上下封头体积之和;
公称容积(V0)是指罐体直筒体体积(Va)和下封头体积(Vb)之和。现在一般说发酵罐大小说的全容积。
装料系数为发酵罐装液量与全容积的比值,一般发酵罐装料系数为70%~80%。
在发酵罐培养过程中,若有较多泡沫产生,可以适当降低装料系数;
对培养过程中泡沫较少、通气量较小的发酵罐,可以适当提高装料系数。
(2)搅拌器
机械搅拌器的主要功能是使物料混合、打碎气泡、强化传热传质。
机械搅拌器使发酵液中的固形物料保持悬浮状态,从而维持气-液-固三相的混合传质;
使通入的空气分散成小气泡并与发酵液混合均匀,增加气液接触界面,提高气液间的传质速率,强化溶氧;
通过搅拌,使发酵罐各个部位温度均匀,强化热量的传递。
搅拌器叶轮搅拌时有轴向流、径向流和切向流。
轴向流是流体流动方向平行于搅拌轴,流体由桨叶推动,使流体向下流动,遇到容器底面再翻上,形成上下循环流,液体循环流量大,如图(1)所示。

轴向流使液体在发酵罐内形成的总体流动为轴向的大循环,有利于宏观混合,但湍动程度不高。主要桨叶形式有桨叶式和旋桨式搅拌桨。
径向流是流体流动的方向垂直于搅拌轴,沿发酵罐半径方向在搅拌器和内壁间流动,碰到容器壁面分成两股流体分别向上、向下流动,再回到叶端,不穿过叶片,形成上、下两个循环流动,如图(2)所示。

径向流使液体在发酵罐内总体流动较复杂,液体剪切作用大,有利于气泡的破碎,但容易造成微生物细胞的损坏。主要桨叶形式有涡轮式搅拌桨。
切向流是指无挡板的容器内,流体绕轴做旋转运动,流体在离心力作用下涌向器壁,中心部分液面下降,形成一个大漩涡,如下图所示。

机械搅拌切向流
严重时可使搅拌器不能全部浸没于发酵液中,使搅拌功率显著下降。
目前发酵罐用得最多的是涡轮式搅拌桨,如下图所示,分为平直叶涡轮搅拌桨、弯叶涡轮搅拌桨、箭叶涡轮搅拌桨等。搅拌桨叶片一般为6片。

涡轮式搅拌桨
(3)挡板
挡板的作用是为改变流体的方向,将切向流改为轴向流,使搅拌时产生湍流,防止产生漩涡,增大溶氧量,提高传质、传热效果,提高搅拌效率。
挡板的上部要在液面以上,下部伸至罐体底部,与封头平齐。
挡板宽度一般为(0.1~0.12)D。(D是发酵罐直径)
装设4~6片挡板,可满足全挡板条件,所谓“全挡板条件”指在发酵罐内再增加挡板以及其他可起到挡板作用的附件时,搅拌功率不变,漩涡基本消失。
挡板的安装有几个特点:
挡板与罐壁之间有间隙,可有效防止罐壁与挡板之间存在清洗及灭菌死角;
挡板可拆卸,方便检修;
挡板在最外部加工成与液体流动方向的弯曲,可有效增加挡板强度,且减少液体对挡板外部的摩擦;
在10m³及以上的发酵罐,列管可以代替挡板。
(4)机械密封
在机械搅拌发酵罐中,除了磁力搅拌不需将搅拌轴伸出发酵罐,其余均需将搅拌轴伸出发酵罐,然后由电机带动旋转,在搅拌轴伸出罐体部位,就需要有机械密封防止泄漏。
机械密封可分为填料函式机械密封和端面机械密封,端面机械密封根据密封端面的数量可分为单端面机械密封和双端面机械密封。
填料函式机械密封由填料箱体、填料底衬套、填料压盖和压紧螺栓等零件构成,如图7-6所示。

填料函式机械密封
填料函式是在填料腔内加入填料,通过压盖和压紧螺栓压紧后,使填料与轴之间紧密接触,达到密封的目的。
填料函式机械密封优点是价格便宜,结构简单,检修方便,对轴加工精度要求低,对轴磨损小。
缺点是死角多,很难彻底灭菌;使用寿命短、泄漏量大,密封效果差,易染菌,维修频繁,在发酵罐中已经很少使用。
根据发酵罐的使用温度和压力范围,目前用得最多的是单端面机械密封,如图所示。

常用的单端面机械密封结构
单端面式机械密封的端面由软硬不同的两种材质制成,分别为动环和静环。
静环是固定在发酵罐上,不旋转的端面,通过密封垫与发酵罐机械密封底座紧密贴合,确保静环与发酵罐接触部位无泄漏。
动环套在轴上,内部有密封垫与轴紧密贴合,可防止动环与轴之间有泄漏。动环上部弹簧将动环向静环方向压紧,使动环光滑端面与静环光滑端面紧密接触,达到密封的目的。
单端面机械密封在安装前后均需要好好保护,保证接触面光洁。安装时,尽量避免动环和静环倾斜。
小型机械密封一般安装在罐体内,此种类型尽量选用结构简单、死角少的机械密封;稍大型的机械密封均安装在发酵罐外,易于固定和进行调节、维护。
(5)空气分布装置
空气分布装置的主要作用是吹入无菌空气,使通入发酵罐中的无菌空气分散成小气泡,以便在发酵液中溶解更充分,有利于菌体生长。
空气分布装置常用的形式有单管式和环形管式,如图所示。

环形管式和单管式空气分布器
单管式空气管伸至底部搅拌桨下部,开口向下,可保证管内不积料,无死角,同时空气向下吹,可将罐底物料向上吹起,气泡经过搅拌桨进一步打碎,可起到较好的溶氧效果。出气口底部距罐底距离根据罐体大小略有不同。
环形管式是在空气管尾部焊一个环形管,环形管一般为封闭圆形或不封闭圆形,环形管底部和侧面开一些小孔,所有小孔截面积之和约等于进气管截面积。
环形管式分布器一般用于容积较小的发酵罐。较小容积发酵罐受容积限制,高度较小,空气在发酵液中停留时间较短,故通过空气环形分布器将空气变成较小气泡,有利于提高溶氧。单管式用于较大型发酵罐。
(6)换热装置
发酵罐需要灭菌、控温,就需要换热装置。用于发酵罐的换热装置主要有夹套、盘管、竖式蛇管和竖式列管。
体积在5m³及以下的发酵罐一般用夹套,5m³以上可用盘管、竖式蛇管或竖式列管等。
夹套上部高度超过发酵液液面即可,无需计算。夹套有进口和出口。控温时冷却水或热水从夹套低位进入,高位排出,如图7-9所示;

夹套换热装置及热交换示意图
灭菌预热时蒸汽从夹套高位进入,冷凝水从夹套低位排出。
夹套优点:结构简单,制作方便;罐内无冷却装置,可有效减少死角,容易进行罐体清洗、灭菌。
缺点是冷却水流速低,换热不均匀,发酵时换热效率相对较低。
盘管是在发酵罐内一种呈螺旋状的不锈钢管道系统,有进口和出口,换热效率较高。如下图(1)。

管式换热装置
如图(2)所示,发酵罐每组竖式蛇管由许多竖式不锈钢管组成,不锈钢管上下之间通过180°弯头串联焊接,最终变成一进一出的一组竖式蛇管。
一般四组、六组或八组,具体数量及管径根据罐体大小及换热要求确定。
竖式蛇管较夹套具有换热效率高,换热面积大,换热介质无短路问题。且蛇管耐压大,可以用相对高压的换热介质,提高换热效率。
竖式蛇管还可以起到挡板的作用,在发酵罐内无需再装挡板。
但蛇管焊接制造相对复杂,焊缝较多,焊缝泄漏概率相对较大,有泄露修补困难。
如图(3)所示,发酵罐每组竖式列管由多根竖式不锈钢管组成,不锈钢管之间通过一根进水管和排水管并联焊接,最终变成一进一出的一组竖式列管。
具体数量及管径根据罐体大小及换热要求确定。
竖式列管加工简单,换热介质有短路问题,换热效率较竖式蛇管低。竖式蛇管也可以起到挡板的作用,在发酵罐内无需再装挡板。
(7)消泡装置
由于发酵液中有蛋白质等易于发泡的物质,在发酵过程中的通气和搅拌作用下,可产生较多泡沫,泡沫太多会从发酵罐排气口排出,造成跑液,也增大了发酵过程中的染菌概率。
发酵罐消泡装置是物理消除发酵过程中产生的泡沫的装置,目前主要用的消泡装置是消泡桨。(因消泡桨作用有限,很多发酵罐已取消。)
消泡桨是用物理方法将气泡打碎,主要有蛇形、锯齿形和耙齿形,如图所示。

常用消泡桨
消泡桨安装在搅拌轴较上部位,随搅拌轴一起旋转,在泡沫达到消泡桨位置时,消泡桨可将泡沫打碎。
随着生物技术的发展和工业发酵需求的不断增长,机械搅拌发酵罐的设计和应用也在不断优化和创新。
目前,通过精确控制发酵过程中的关键参数,如pH、温度、溶氧、搅拌转速等,可以显著提高微生物的代谢效率和产物的产量。这些参数控制也随着在线检验设备发展,更为稳定准确。
发酵罐的结构将根据发酵菌的特点,结合本文发酵罐原理及结构,进性定制化制作,以满足我们不同发酵条件的需求。
此外,发酵罐的自动化和智能化控制系统为实现更精确的过程控制提供了可能,由中控系统进行参数控制,只需设置好所需风量、温度、pH、补料速度等由系统自动控制调节,这些技术进一步推动了发酵工艺的现代化和高效化。

