一、泵行业概况
1、泵行业经济中的重要性
1.1、工业体系是一个国家的经济命脉
1.2、制造业处于整个工业体系的中心地位
1.3、装备制造业是制造业的基础
1.4、通用机械行业是装备制造业的重要部分
1.5、泵行业是通用机械行业的第一大行业
2、泵行业发展趋势
2.1、泵行业是个较为稳定、成熟的行业,将持续发展。
2.2、产品的发展将直接与国际接轨,采用ISO标准。
2.3、高新技术运用、产品开发周期变短 、淘汰更新的速度加快
2.4、民营和股份制的泵制造厂在泵行业中占主导地位
2.5、泵产品将向大型化即大流量、大口径、大功率的方向发展
2.6、泵产品技术将向机电一体化、智能化的方向发展
2.7、产品将向标准化、系列化和通用化方向发展
3、应用市场细分
3.1、建筑(楼宇供水、消防、空调暖通等等)
3.2、市政(城市水务、供水、排水、水处理行业)
3.3、石油化工
3.4、电力 (火电、核电、新能源)
3.5、工矿
3.6、农业灌溉
3.7、其他(重大工程、船用等等)
二、水泵的基本原理
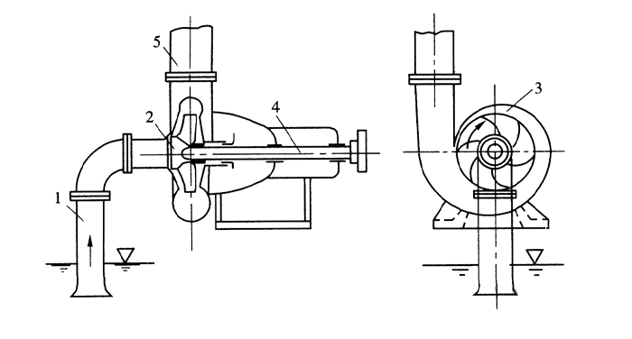
2.1、离心泵工作过程是:在启动前,应先用水灌满泵壳和进水管(在进水管的底部有底阀,防止水倒流),然后驱动电机,使叶轮和叶轮中的水做高速旋转运动,此时,水受到离心力作用被甩出叶轮,经泵壳的流道而流入水泵的出口,由出口流入到出水管道;与此同时,水泵叶轮中心处由于水被甩出而形成真空,进水池中的水在外界大气压作用下,沿进水管流入叶轮进口;由于叶轮不断旋转,水就源源不断地甩出和吸入,形成连续的扬水作用。

2.2、叶片泵(离心泵)的工作原理:在离心泵起动前,如果不灌满水,叶轮只能带动空气旋转,因空气的单位体积的质量很小,产生的离心力甚小,无力把泵内和排水管路中的空气排出,在泵内造不成真空,水也就吸不上来。离心泵的工作过程实际上就是一个能量传送和转化的过程,它把电机的高速旋转的机械能转换成水的动能和势能。在能量传递和转换过程中,就伴随着许多能量损失,这种能量损失越大,说明离心泵的工作效率越低。

2.3、叶片泵的基本方程:建立叶轮对液体所做的功与液体运动状态变化之间的关系。
叶片泵基本能量方程的表示形式

三、水泵的主要参数、名词术语
3.1、泵的主要参数
1、流量:泵流量是单位时间内从泵排出并进入管路的液体体积。一般指的流量均为体积流量。用符号Q表示,单位为m3/h或L/s。
2、扬程:泵的扬程是单位质量液体通过泵后的能量增值。其值等于单位质量液体在泵出口处的能量减去泵进口处的能量。用符号H表示,单位为m。
3、转速:泵转速是泵轴旋转的速度,即单位时间内泵轴旋转的次数。用符号n表示,单位r/min或s-1。
4、功率:

5、效率

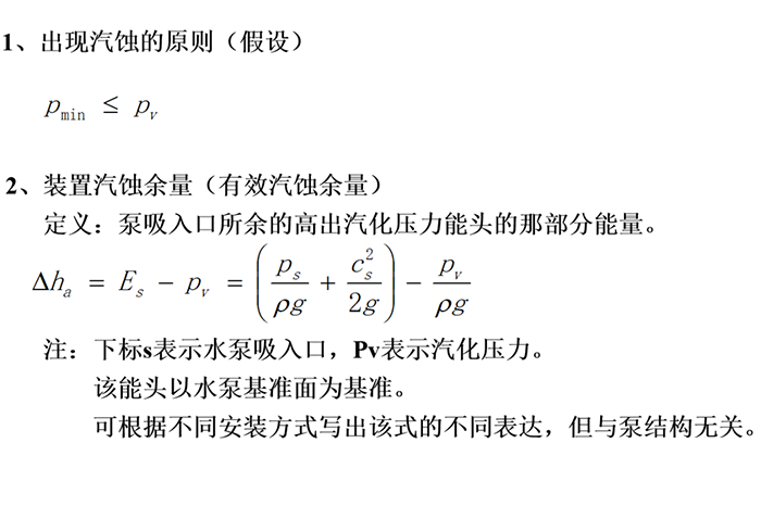
6、汽蚀余量:表示泵汽蚀性能的主要参数,一般指必须汽蚀余量。单位m。(流动着的液体由于局部压力降低而产生气泡的现象。泵发生汽蚀时,在汽蚀部位会引起对机件的侵蚀,进一步发展造成扬程下降,产生振动、噪声等。)
7、比转速


8、比例定律

9、切割定律

10、轴向力及其平衡

11、径向力及其平衡

12、粘性系数

13、运动粘度

14、喘振:管路系统(包括泵)由于流量小而引起液流在泵内脱流而形成的自振,表现为压力、流量周期性变化,泵和管路产生激烈振动和低沉噪声。
15、水锤(水击):管路系统(包括泵)由于流量急剧变化而引起的较大压力波动。
四、水泵分类
泵分为三大类


离心泵分类介绍
1、泵轴方向可分为:卧式、立式、斜式

2、壳体剖分形式分为:径向剖分式和轴向剖分式

3、级数形式分为:单级和多级

4、吸入形式分为:单吸和双吸

5、特殊形式分为:液下式、自吸式、潜液式

6、驱动方式分为:直接连接、皮带式、齿轮式、液力偶合传动式

五、水泵主要部件介绍
5.1、叶轮—做功部件
结构形式划分:
闭式(输送不含杂质的液体,效率高;造价高)
半开式(输送易于沉淀或含有固体颗粒的液体)
开式(输送沙浆、污水、含纤维液体;效率低)
作用原理划分:
离心式叶轮、混流式叶轮、轴流式叶轮
材料:铸铁、青铜、铸钢、氟塑料、高效涂层


5.2、压出室—能量转换部件
结构形式:
1)螺旋形压出室:常用于单级单吸、单级双吸离心泵
2)导叶:多用于多级泵或径向力较大的单级泵
3)带导叶的环形压出室

5.3、吸入室—导入部件

5.4、泵主要部件材料


5.5、泵的密封

环密封

轴密封
1、填料密封:
结构简单、易于制造;用于普通水泵和一般化工泵;效果较差;泄漏量大,需经常更换填料。


机械密封:由垂直于主轴的两个光制的、精密的平面在弹性元件及密封液体压力的作用下相互紧帖并作相对运动而构成的动密封装置。效果好;使用寿命长;造价高。

机械密封和填料密封的比较

六、水泵运行
6.1、管路特性曲线


6.2、水泵运行工况点
如上图,管路特性曲线与泵性能特性曲线H~Q的交点M,为水泵运行工况点。
在M点稳定运行的理由:假定在A,因HC>H,故V↓,Q↓,重回M点。
6.3、水泵的不稳定运行

6.4、水泵的串、并联运行
相同泵的串联: 两台性能相同的泵串联时,合成性能曲线是在同一流量下两泵的扬程相加得到。

由图可见,串联工况点B,单机运行时工况点为A,但B点流量和扬程均小于A点值的两倍。
不同泵的串联: 两台不同性能的泵串联时,合成性能曲线仍是在同一流量下两泵的扬程相加得到。
相同泵的并联:两台性能相同的泵并联时,合成性能曲线是在同一扬程下两泵的流量相加得到。

不同泵的并联:两台性能不同的泵并联时,合成性能曲线仍是在同一扬程下两泵的流量相加得到。
七、泵运行工作点的调节
7.1、变阀调节:通过改变出水管路中闸阀开度的大小来达到改变水泵工作点的目的,这种调节方法称为变阀调节,亦称为节流调节。

7.2、变速调节:通过改变水泵转速以改变水泵的性能,从而达到改变水泵工作点的目的,这种调节方法称为变速调节。


7.2、变径调节:通过改变叶轮外径的大小以改变水泵的性能,从而达到改变水泵工作点的目的,这种调节方法称为变径调节,亦称为车削调节或切削调节。

切削抛物线

允许最大车削量

7.3、变角调节:通过改变叶片安装角度的大小以改变水泵的性能,从而达到改变水泵工作点的目的,这种调节方法称为变角调节。变角调节适用于叶片可调节的轴流泵与混流泵。

八、气蚀详解
气蚀余量

必须汽蚀余量:

汽蚀防护与改善措施
对已经设计好的水泵来讲,可采取以下措施进行汽蚀防护:
1、提高加工精度
2、选择良好材料
3、选择合理安装高度
4、规定合理运动范围
5、采用补气等办法
对待设计的泵来讲,可采取以下措施改善汽蚀性能:
1、使用诱导轮
2、适当增加叶轮入口直径
3、加大前盖板圆弧半径
4、将叶片进口边适当向吸入口延伸
5、采用双吸叶轮
6、使用超汽蚀翼型
汽蚀的危害
1.使过流部件剥蚀破坏,起初出现麻点,继而表面呈现槽沟状、蜂窝状、鱼鳞状的裂痕,严重时造成叶片或叶轮前后盖板穿孔,甚至叶轮断裂,造成严重事故。
2.汽蚀使泵的性能下降
3.汽蚀使泵产生噪音和振动4.汽蚀是水力机械向高流速发展的巨大障碍。


