01简述
在石油、化工、生物、医药行业经常会用到发酵罐等搅拌设备,搅拌设备可按搅拌器的结构类型和搅拌设备的安装形式进行分类。
根据机械搅拌器的安装型式进行分类,搅拌器飞卫立式中央搅拌、偏心式搅拌、倾斜式搅拌、底搅拌、旁入式搅拌。
搅拌器的机构类型对搅拌效果有很大关系。下面我们介绍常见的搅拌器的结构类型。
02搅拌器的类型
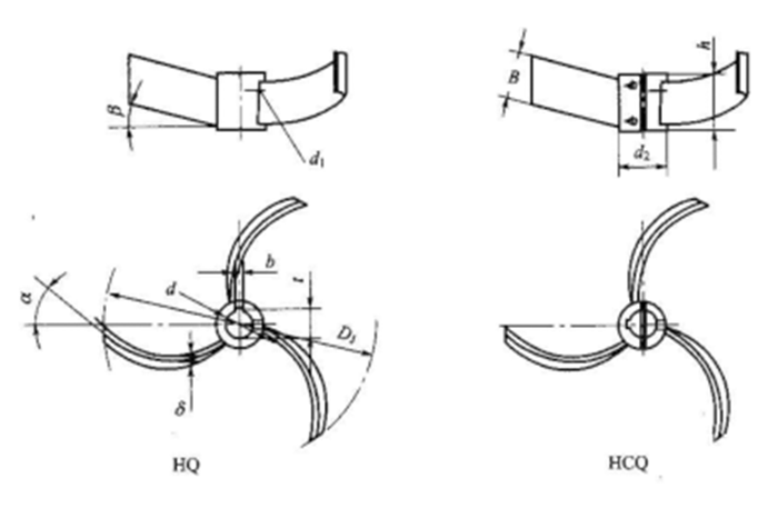
1.推进式搅拌器
推进式搅拌器一般为3叶,也有2叶或4叶。其叶片直径与搅拌槽内径之比为0.2~0.5,常取0.33。

TXL-三叶左旋推进式、TXR-三叶右旋推进式
2.开启涡轮式搅拌器
开启涡轮式搅拌器的桨叶有平直叶、斜叶和弯叶三种形式。桨叶数一般为3叶、4叶和6叶。



桨叶与水平面所成的角度:平直叶,弯叶为90°,斜叶为45°或60°。
弯叶式搅拌器的后弯角β=30°、45°、60°或80°。
3.圆盘涡轮式搅拌器
圆盘涡轮式搅拌器的结构与开启式涡轮搅拌器相比较,其桨叶不是直接与轴套连接,而是连接在一个圆盘上,通过圆盘与搅拌轴连接。根据桨叶的型式分为平直叶、斜叶、弯叶和弧叶圆盘涡轮式搅拌器。





圆盘式搅拌器用于气液相搅拌效果最好,其圆盘可阻挡气体快速上升,延长气液接触时间。
4.桨式搅拌器
桨式搅拌器其叶片类型有平直叶、斜叶、弧叶、折叶、复合叶几种形式。





5.锚框式搅拌器
锚框式搅拌器在直径方向和高度方向都有很大的搅拌范围,在搅拌过程中不会形成介质的流动死角,搅拌时能对流体产生较大的剪切力。经常被用于高粘度流体的搅拌。由于搅拌器的直径较大,所以只能用在低转速工况下,最高转速一般不超过100r/min。

6.螺带式搅拌器
螺带式搅拌器有螺带式和锥底螺带式两种。
螺带式搅拌器可使搅拌范围为整个搅拌容器横截面,流体介质在搅拌器的作用下,沿容器壁的流体在搅拌器的推动下向上流动,而在搅拌轴附近的流体向下流动。

7.螺杆式搅拌器
螺杆式搅拌器有螺杆式和带导流筒螺杆式两种。
螺杆式搅拌器也是一种轴流式搅拌器,桨叶形状跟螺旋输送机的叶片相似。

8.三叶后弯式搅拌器
三叶后弯式搅拌器共有三个叶片。叶片在直径方向向后弯曲,同时在轴向向上翘起,常用于搪玻璃釜的搅拌。

9.圆盘锯齿式搅拌器
圆盘锯齿式搅拌器有平齿形、翻齿形和贴齿形三种类型。
锯齿圆盘式搅拌器采用锯齿圆盘与搅拌槽内物料的高速摩擦作用,实现了良好的搅拌效果。锯齿圆盘的锯齿形状能够有效地破碎、混合、分散物料,确保物料均匀搅拌。

10.板式螺旋桨搅拌器
板式螺旋桨搅拌器有窄叶和宽叶两大类。叶片数量常用3叶和4叶。


03搅拌器的型号表示方法
搅拌器的型号表示由类型代号和特征参数组成,类型代号放在特征参数之前。一般原则如下:

衬涂代号如下:
| 衬涂类型 | 代号 |
| 喷PO | LP |
| 衬橡胶 | LR |
| 衬聚四氟乙烯 | LF |
| 衬玻璃钢 | LG |
| 搪玻璃 | LE |
| 注:PO为聚丙烯等多种成分混合物。 |
常用材料代号如下:
| 材料牌号 | 国外牌号 | 代号 |
| 0Cr18Ni11Ti,1Cr18Ni9Ti | 321 | S1 |
| 0Cr17Ni12Mo2 | 316 | S2 |
| 0Cr18Ni9(06Cr19Ni10) | 304 | S3 |
| 00Cr19Ni11(00Cr19Ni10) | 304L | S4 |
| 00Cr17NI14Mo2 | 316L | S5 |
| 0Cr18Ni12Mo2Ti | 316Ti | S6 |
| 00Cr20Ni25Mo4.5Co | 904L | S7 |
| Q235-A | T1 | |
| 20-35 | T2 |
搅拌器的类型代号如下:


