1、风管支(吊)架的型钢材料应按风管、部件、设备的规格和重量选用,并应符合设计要求。
当设计无要求时,在最大允许范围安装间距下,风管吊架的型钢规格应符合下表:
表:水平安装金属风管矩形风管的吊架型钢最小规格

2、水管支(吊)架的型钢材料应按水管、附件、设备的规格和重量选用,并应符合设计要求。当设计无要求时应符合下表规定:


注:对于管径大于300的管道,管径每增加2个型号,型钢、吊杆、膨胀螺栓等应相应增大1个型号;表中“*”表示两个角钢加固件。
3、支(吊)、吊架制作前,应对型钢进行矫正,型钢宜采用机械切割,切割边缘应进行打磨处理。
型钢切割下料应符合下列规定:
3.1、型钢斜支(吊)撑、悬臂型钢支(吊)架栽入墙体部分应采用燕尾型式,栽入部分不应小于120mm。

燕尾型式预埋支架
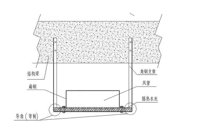
3.2、横担长度应预留管道及保温宽度(如下图)


防晃支架
4、角钢类支(吊)架的制安装:
4.1、倒吊式


倒吊式支(吊)吊架材料适用表
4.2、龙门式


龙门式支(吊)架材料适用表
4.3、单支(吊)角钢支(吊)架


单支(吊)角钢式支(吊)架材料适用表
注:如管径≥DN200则用槽钢型支(吊)架
4.4、水平龙门式


水平式支(吊)架材料适用表
4.5、坐地式


注:座地式支(吊)架安装在室外的地面、屋面,这部分的支(吊)架必须安装在高于地面不少于50mm的水泥基础上。
4.6、挂墙式
挂墙式支(吊)架(宜固定在混凝土墙体上和墙体结实的砖墙上)
![]() |
![]() |
| Ⅰ型
(立柱长度与横担长度之比1:1) |
ⅠⅠ型号 |

5、槽钢类支吊架
5.1、吊式龙门支(吊)架





